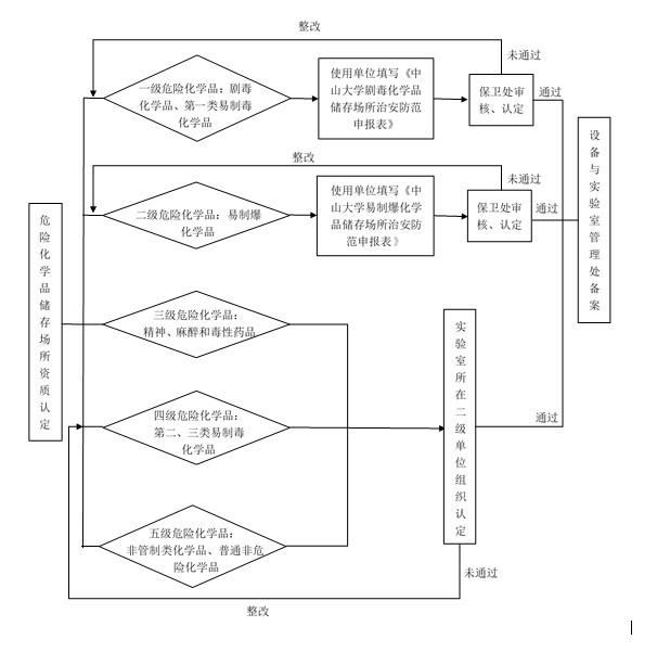
危险化学品储存场所资质认定流程
发布人:管理员
发布日期:2019-10-25
(一)上位法及管理制度
1.《危险化学品安全管理条例》(国务院令第344号)
2.《易制毒化学品管理条例》(国务院令第445号)
3.剧毒化学品、放射源储存场所治安防范要求(GA1002-2012)
4.易制爆危险化学品储存场所治安防范要求(GA1511-2018)
5. 麻醉药品和精神药品管理条例(国务院令第442号)
6. 中山大学危险化学品安全管理办法(中大设备〔2015〕1号)
7.设备与实验室管理处关于实施实验室危险化学品安全分级管理的通知(设备〔2019〕17号)
(二)前置要求
二级单位根据相关规定完成各类危险化学品储存场所的建设。
(三)需要提交的材料
《中山大学剧毒化学品储存场所治安防范申报表》或《中山大学易制爆化学品储存场所治安防范申报表》
